气动调节阀

气动衬氟调节阀
产品简介
News Center
新闻中心气动衬氟调节阀是一种防腐蚀直通单座调节阀,与流体接触的阀体内壁和阀内组件均采用高压注塑工艺,衬有能耐腐蚀、耐老化的聚全氟乙丙烯(F46),又采用聚四氟乙烯波纹管密封。广泛适用于酸、碱等强腐蚀介质和有毒、易挥发等气体、液体的控制。
1、耐腐蚀。几乎能耐所有的介质(包括浓硝酸和王水)的腐蚀。
2、密封性能好。采用波纹管和填料双重密封,确保无渗漏。
3、泄漏量小。由于阀芯、阀座采用软密封,确保无渗漏。
4、配用HA执行机构,输出力大、结构紧凑。 产品符合GB/T4213-92。
公称通径(DN) | 20 | 25 | 32 | 40 | 50 | 65 | 80 | 100 | 150 |
阀座直径(dn) | 20 | 25 | 32 | 40 | 50 | 65 | 80 | 100 | 150 |
额定流量系数(KV) | 5.0 | 8 | 12 | 20 | 32 | 50 | 70 | 100 | 240 |
允许压差(MPa) | 3.8 | 3.2 | 3.0 | 2.0 | 1.8 | 1.5 | 1.4 | 1.0 | 0.6 |
公称压力(MPa) | 1.6、2.5、4.0、6.4 | ||||||||
额定行程(mm) | 16 | 25 | 40 | 60 | |||||
配用执行器型号 | ZHA/B-22 | ZHA/B-23 | ZHA/B-34 | ZHA/B45 | |||||
阀芯形式 | 单座柱塞式衬氟阀芯 | ||||||||
流量特性 | 快开特性 | ||||||||
配置执行器类别 | ZHA/B多弹簧簿膜执行机构 | ||||
执行器型号 | ZHA/B-22 | ZHA/B-23 | ZHA/B-34 | ZHA/B-45 | ZHA/B-56 |
有效面积(cm2) | 350 | 350 | 560 | 900 | 1400 |
行程(mm) | 10、16 | 24 | 40 | 40、60 | 100 |
弹簧范围(KPa) | 20~100(标准)、20-60、60-100、40-200、80-240 | ||||
膜片材料 | 丁腈橡胶夹尼龙布、乙丙橡胶夹尼龙布 | ||||
供气压力 | 140~400KPa | ||||
气源接口 | RC1/4" | ||||
环境温度 | -30~+70℃ | ||||
可配附件 | 定位器、空气过滤减压器、保位阀、行程开关、阀位传送器、手轮机构等 | ||||
作用形式 | 气关式(B)—失气时阀位开(FO);气开式(K)—失气时阀位关(FC) | ||||
阀体、阀盖 | ZG230-450衬F46 |
阀座、阀芯 | 304衬F46 |
阀杆 | 304衬F46 |
导向套 | 304衬F46 |
波纹管 | 不锈钢+F46 |
项目 | 不带定位器 | 带定位器 | ||
基本误差% | ±5.0 | ±1.0 | ||
回差% | 3.0 | 1.0 | ||
死区% | 3.0 | 0.4 | ||
始终点偏差% | 气开 | 始点 | ±2.5 | ±1.0 |
始点 | ±5.0 | ±1.0 | ||
气关 | 始点 | ±5.0 | ±1.0 | |
终点 | ±2.5 | ±1.0 | ||
额定行程偏差% | ≤2.5 | |||
泄露量L/h | 0.01%×阀额定容量 | |||
可调范围R | 30:1 | |||
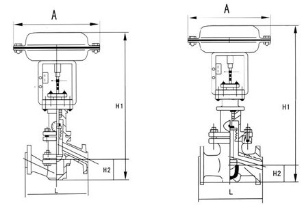
公称通径(DN) | 20 | 25 | 32 | 40 | 50 | 65 | 80 | 100 | 125 | 150 | |
L | PN16/25 | 181 | 184 | 200 | 222 | 254 | 276 | 298 | 352 | 410 | 451 |
PN40 | 194 | 197 | 200 | 235 | 267 | 292 | 317 | 368 | 425 | 473 | |
PN64 | 206 | 200 | 210 | 251 | 286 | 311 | 337 | 394 | 440 | 508 | |
H | PN16/25 | 52.5 | 57.5 | 75 | 75 | 85.5 | 92.5 | 100 | 110 | 142.5 | 158 |
PN40 | 52.5 | 57.5 | 75 | 75 | 82.5 | 92.5 | 100 | 117.5 | 150 | 167.5 | |
PN64 | 65 | 40 | 85 | 85 | 90 | 102.5 | 107.5 | 125 | 172.5 | 195 | |
H1 | 132 | 132 | 158 | 170 | 179 | 214 | 221 | 234 | 270 | 294 | |
H2 | 298 | 298 | 298 | 298 | 298 | 380 | 380 | 380 | 510 | 510 | |
H3 | 180 | 180 | 180 | 180 | 180 | 236 | 236 | 236 | 310 | 310 | |
L1 | 289 | 289 | 289 | 289 | 289 | 347 | 347 | 347 | 476 | 476 | |
A | 282 | 282 | 282 | 282 | 282 | 360 | 360 | 360 | 470 | 470 | |
D | 220 | 220 | 220 | 220 | 220 | 270 | 270 | 270 | 320 | 320 | |
在线留言