截止阀

J641H气动截止阀
产品简介
News Center
新闻中心产品型号:J641H/W/Y
产品口径:DN15-500mm
产品压力:1.6-64MPa
产品材质:铸钢、不锈钢,锻钢
1、选材考究,符合国内、外相关标准,结构合理,造型美观。
2、阀瓣、阀座密封面采用铁基合金堆焊或司太立(Stellite)钴基硬质合金堆焊而成,耐磨、耐高温、耐腐蚀、抗擦伤性能好,使用寿命长。
3、阀杆经调质及表面氮化处理,有良好的抗腐蚀性和抗擦伤性。
4、可采用各种配管法兰标准及法兰密封面型式,满足各种工程需要及用户要求。
5、阀体材料品种齐全,填料、垫片可根据实际工况或用户要求合理选配,能适用于各种压力、温度及介质工况。
6、倒密封采用螺纹连接密封座或本体堆焊奥氏体不锈钢而成,密封可靠,更换填料可在不停机情况下进行,方便快捷,不影响系统运行。
设计与制造 | GB/T12235 | |
连接端尺寸 | 结构长度 | GB/T12221 |
法兰尺寸 | JB/T79 | |
检验与试验 | JB/T9092 | |
材 料 | 碳钢 | GB/T12229 |
不锈钢 | GB/T12230 | |
合金钢 | Q/ZB66 | |
标 志 | GB/T12220 | |
供 货 | JB/T7928 | |
阀体 阀盖 | 阀瓣 | 密封圈 | 阀杆 | 填料 | 适用介质 | 适用温度 (≤℃) |
WCB | WCB+D507Mo | D577 | 2Crl3 | 柔性石墨 | 水、油品、蒸汽 | 425 |
ZGlCrl8Ni9Ti | 0Crl8Ni9Ti Stellite12 | Stellite6 | lCrl8Ni9Ti | PTFE | 硝酸类 | 200 |
ZGlCrl8Ni2Mo2Ti | CF8M | lCrl8Ni2Mo2Ti | lCrl8Ni2Mo2Ti | PTFE | 磷酸类、 | 200 |
ZG00Crl7Nil4M02 | CF3M | Stel1ite6 | 316L | PTFE | 磷酸类、 | 200 |
ZGlCr5MO | ZGlCr5MO | Stel1ite6 | 25Cr2Mo1VA | 柔性石墨 | 水、油品、蒸汽 | 550 |

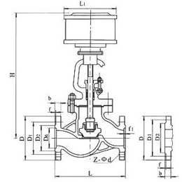
公称压力 | 公称通径 | 标准值 | 参考值 | |||||||
L | D | D1 | n2 | b | f | Z-φd | L1 | H | ||
1.6 | 50 | 230 | 160 | 125 | 100 | 16 | 3 | 4-φ18 | 185 | 645 |
65 | 290 | 180 | 145 | 120 | 18 | 3 | 4-φ18 | 232 | 690 | |
80 | 310 | 195 | 160 | 135 | 20 | 3 | 8-φ18 | 232 | 715 | |
100 | 350 | 215 | 180 | 155 | 20 | 3 | 8-φ18 | 232 | 770 | |
125 | 400 | 254 | 210 | 185 | 22 | 3 | 8-φ18 | 283 | 780 | |
150 | 480 | 280 | 240 | 210 | 24 | 3 | 8-φ23 | 283 | 810 | |
200 | 600 | 335 | 295 | 265 | 26 | 3 | 12-φ23 | 283 | 967 | |
250 | 622 | 405 | 355 | 320 | 30 | 3 | 12-φ25 | 283 | 1143 | |
300 | 698 | 460 | 410 | 375 | 30 | 4 | 12-φ25 | 283 | 1292 | |
2.5 | 50 | 230 | 160 | 125 | 100 | 20 | 3 | 4-φ18 | 185 | 645 |
65 | 290 | 180 | 145 | 120 | 22 | 3 | 8-φ18 | 232 | 690 | |
80 | 310 | 195 | 160 | 135 | 22 | 3 | 8-φ18 | 232 | 715 | |
100 | 350 | 230 | 190 | 160 | 24 | 3 | 8-φ23 | 232 | 770 | |
125 | 400 | 270 | 220 | 188 | 28 | 3 | 8-φ25 | 283 | 780 | |
150 | 480 | 300 | 250 | 218 | 30 | 3 | 8-φ25 | 283 | 810 | |
200 | 600 | 360 | 310 | 278 | 34 | 3 | 12-φ25 | 283 | 967 | |
250 | 622 | 425 | 370 | 332 | 36 | 3 | 12-φ30 | 283 | 1143 | |
300 | 698 | 485 | 430 | 390 | 40 | 4 | 16-φ30 | 283 | 1292 | |
在线留言